
A-A-55471D
NOTES:
1. Dimensions are in inches.
2. Tolerance is ±.005 inch (0.13 mm), unless otherwise specified.
3. This item was designed using inch-pound units of measurement. In case of problems involving
conflicts between the metric and inch-pound units, the inch-pound units shall rule.
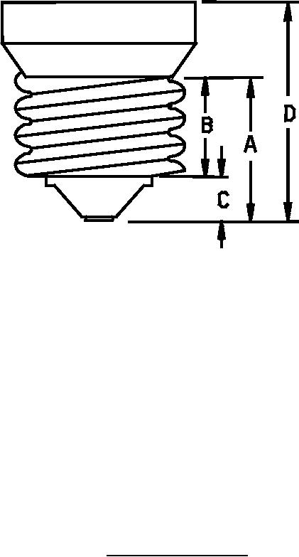
4. Dimension A: .85 inch (19.1 millimeters) maximum.
5. Dimension B: Not less than three full threads .43 inch (10.9 millimeters) minimum; seven threads
per 1.00 inch (25.0 millimeters) in screw shell.
6. Dimension C: .187 inch (4.80 millimeters) minimum, except that if the extension of the fusible
element is externally soldered to the lower edge of the screw shell, the fusible element of the solder
shall not be less than .125 inch (3.20 millimeters).
7. Dimension D: 1.375 inches (34.90 millimeters) maximum.
FIGURE 1. Configuration and dimensions.
2
For Parts Inquires call Parts Hangar, Inc (727) 493-0744
© Copyright 2015 Integrated Publishing, Inc.
A Service Disabled Veteran Owned Small Business