
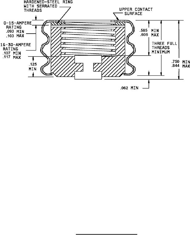
A-A-55474D
Inches
mm
Inches
mm
.062
1.59
.125
3.17
.093
2.36
.585
14.86
.103
2.61
.605
15.37
.107
2.72
.750
19.05
.117
2.97
.844
21.44
NOTES:
1. Dimensions are in inches.
2. Tolerance is ±.005 inch (0.13 mm), unless otherwise specified.
3. This item was designed using inch-pound units of measurement. In case of problems involving
conflicts between the metric and inch-pound units, the inch-pound units shall rule.
FIGURE 1. Configuration and dimensions.
2
For Parts Inquires call Parts Hangar, Inc (727) 493-0744
© Copyright 2015 Integrated Publishing, Inc.
A Service Disabled Veteran Owned Small Business