
MIL-DTL-9129G
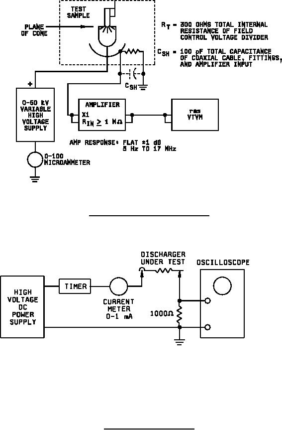
FIGURE 3. Radio frequency noise test configuration.
NOTES
1. Adjust timer for "ON" time of 15 seconds.
2. Adjust high voltage power supply to produce a continuous power of 5 watts (see figure 2).
3. Discharger connection will be at manufacturer's discretion.
4.
FIGURE 4. High current test configuration.
13
For Parts Inquires call Parts Hangar, Inc (727) 493-0744
© Copyright 2015 Integrated Publishing, Inc.
A Service Disabled Veteran Owned Small Business