
MIL-PRF-15160/22C
Inches
mm
Inches
mm
Inches
mm
0.003
0.08
0.094
2.39
1.531
38.89
0.005
0.13
0.125
3.18
2.000
50.80
0.008
0.20
0.250
6.63
2.250
57.15
0.025
0.64
0.531
5.31
2.906
73.81
0.031
0.79
0.750
19.05
10.375
263.52
0.035
0.89
1.125
28.58
NOTES:
1. Dimensions are in inches.
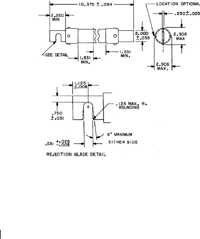
FIGURE 2. Style F22, characteristic BR.
2
For Parts Inquires call Parts Hangar, Inc (727) 493-0744
© Copyright 2015 Integrated Publishing, Inc.
A Service Disabled Veteran Owned Small Business