
INCH-POUND
MIL-PRF-19207/13J
12 December 2013
SUPERSEDING
MIL-PRF-19207/13H
24 April 2007
PERFORMANCE SPECIFICATION SHEET
FUSEHOLDERS, EXTRACTOR POST TYPE, NONINDICATING,
TYPE FHN23W
This specification is approved for use by all Departments
and Agencies of the Department of Defense
The requirements for acquiring the product described herein
shall consist of this specification sheet and MIL-PRF-19207.
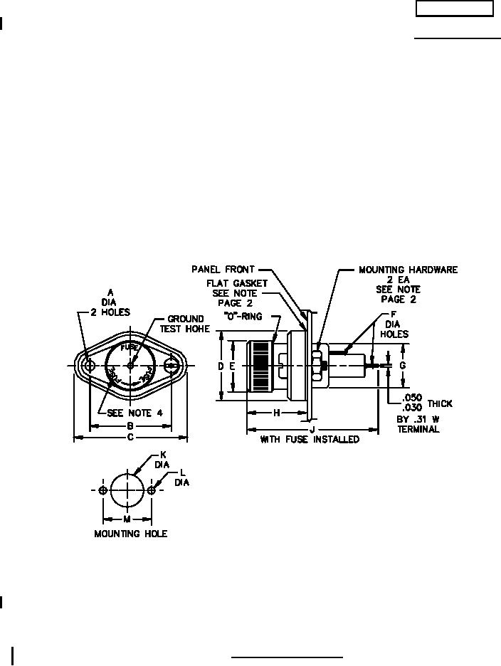
See notes on page 2.
FIGURE 1. Type FHN23W fuseholder.
AMSC N/A
FSC 5920
For Parts Inquires call Parts Hangar, Inc (727) 493-0744
© Copyright 2015 Integrated Publishing, Inc.
A Service Disabled Veteran Owned Small Business