
INCH-POUND
MIL-PRF-19207/22L
9 January 2014
SUPERSEDING
MIL-PRF-19207/22K
24 April 2007
PERFORMANCE SPECIFICATION SHEET
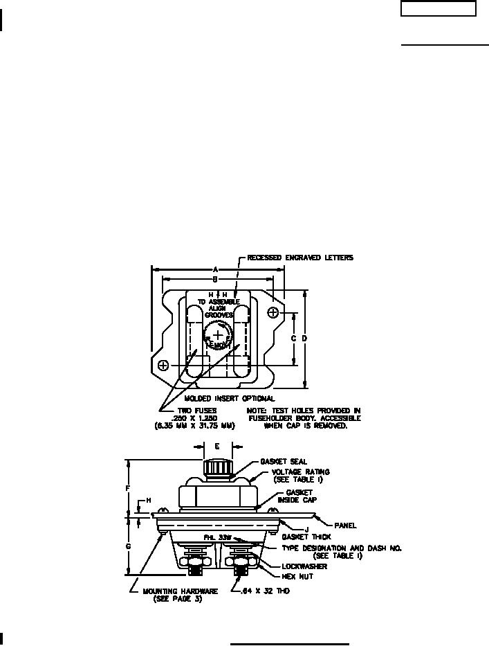
FUSEHOLDERS, EXTRACTOR POST TYPE,
BLOWN FUSE INDICATING, TYPE FHL33W
This specification is approved for use by all Departments
and Agencies of the Department of Defense.
The requirements for acquiring the product described herein
shall consist of this specification sheet and MIL-PRF-19207.
FIGURE 1. Type FHL33W fuseholder.
AMSC N/A
FSC 5920
For Parts Inquires call Parts Hangar, Inc (727) 493-0744
© Copyright 2015 Integrated Publishing, Inc.
A Service Disabled Veteran Owned Small Business