
INCH-POUND
MIL-PRF-19207/38E
6 March 2014
SUPERSEDING
MIL-PRF-19207/38D
17 July 2007
PERFORMANCE SPECIFICATION SHEET
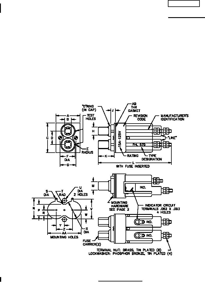
FUSEHOLDERS, EXTRACTOR POST TYPE,
BLOWN FUSE INDICATING, TYPE FHL57G
This specification is approved for use by all Departments
and Agencies of the Department of Defense
The requirements for acquiring the product described herein
shall consist of this specification sheet and MIL-PRF-19207.
See notes at end of figures.
FIGURE 1. Type FHL57G fuseholder.
AMSC N/A
FSC 5920
For Parts Inquires call Parts Hangar, Inc (727) 493-0744
© Copyright 2015 Integrated Publishing, Inc.
A Service Disabled Veteran Owned Small Business